3.2 Reality Co-Processor (RCP)

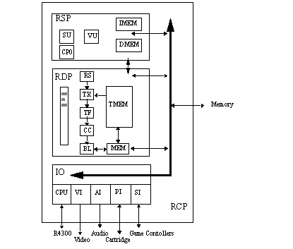
The RCP is a collection of processors, memory interfaces, and control logic. The Reality Signal Processor (RSP) is the microcode engine that executes audio and graphics tasks. The Reality Display Processor (RDP) is the graphics display pipeline that renders into the frame buffer. The memory interfaces provide access to main memory for the CPU, RSP, RDP, video interface, audio interface, peripheral devices, and serial game controllers. It is very important to remember that these interfaces may be active at the same time and that the RSP and RDP are running in parallel. Please see the RCP block diagram in Figure 3-2.

Figure 3-2 Block Diagram of the RCP

[Figure 3-2]

UP